管道式電磁流量計廠家在工業管道測量中選型安裝調試的常規要求
點擊次數:3414 發布時間:2021-01-01 13:41:52
管道式電磁流量計廠家的廣泛應用,目前已經拓展個工業生產領域的各個行業,包括民用工程與農業生產中都會經常會用到,比如市政、水利建設中的自來水管道與輸水管道中的使用頻度也很高。管道式電磁流量計廠家是基于電磁感應原理,管道中的導電流體在流經測量管段時,對于管道式電磁流量計廠家所加的磁場產生感生的電動勢來測量管道中流經介質的體積流量。隨著現代化生產的要求不斷提高,工業生產中對于物料的自動化控制要求也越來越嚴格,管道式電磁流量計廠家作為一種能確精確測量的自動化過程儀表越來越廣泛地應用于石化、造紙、冶金、環保、食品等行業領域。
由于管道式電磁流量計廠家分布分散,運行環境較為復雜,其安裝工藝極可能影響其運行工況,以及發生故障的機率,從而影響整個儀表控制系統的運行。故對管道式電磁流量計廠家的原理進行分析,對其安裝工藝的研究,調試技術總結不斷更新顯得十分必要。本文通過對管道式電磁流量計廠家的工作原理及其工作環境要求等因素的分析,總結管道式電磁流量計廠家在選型、安裝、調試等應用的技術要點。
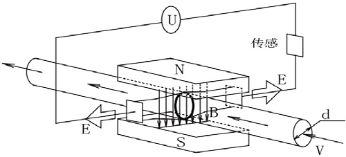
一、管道式電磁流量計廠家的工作原理圖

管道式電磁流量計廠家主要由信號轉換器與傳感器構成,其原理是基于法拉利電磁感應定律,在其傳感器中與被測管軸線垂直方向安裝一對檢測電極,當其接入液態介質管道,導電液態物質沿管軸側運動時,導電液體作切割磁力線運動而產生感應電動勢,此感應電動勢由其兩個電極測出,其理論數值為:
E=kVBd
其中,E:感應電動勢,
k:調整系統,因儀表構造而異,
V:被測液體平均流速,
B:磁感應強度,
d:被測管內徑。
如圖,測量流量時,流體流過垂直于流動方向的磁場,導電性流體的流動感應出一個與平均流速成正比的電勢。其感應電壓信號通過兩個電極檢出,并通過電纜傳送至轉換器,經過信號處理及相關運算后,將累計流量和瞬時流量顯示在轉換器的顯示屏上。
二、管道式電磁流量計廠家的選型
1、口徑選擇
選擇管道式電磁流量計廠家不一定按照管徑尺寸來確定其選用口徑。一般而言,當管道流速在0.5~1.5m/s 為經濟流速,若流體介質質對側壁磨損性較小,建議長期流速大于3m/s,但應小于7m/s,此時可選取小于管徑的流量計。
2、內襯材料選擇
管道式電磁流量計廠家主要用于測量流體物質的流量,而隨著被測物質的腐蝕性、磨損性、溫度及凝結性等特點,應選擇不同內襯材料的流量計。
3、電極材料的選擇
管道式電磁流量計廠家的電極裝于其管道內壁,與被測物質直接接觸,故應根據被測物質的腐蝕性選定。一般用于制造電極的材料有鈦(Ti)、鉭(Ta)、鉑-銥(Pt-Yi)合金、哈氏合金C(HC)、316L等。
4、其它參數的選擇
管道式電磁流量計廠家的選擇還應考慮防護等級、連接法蘭及電纜等因素。
管道式電磁流量計廠家的傳感器與轉換器之間用電纜進行連接,其長度與被測物質的電導率有關,*大長度為*低電導率的5 倍,但長度一般不超過100 米,且要求用金屬管道單獨保護。
三、管道式電磁流量計廠家的安裝
1、安裝準備工作
管道式電磁流量計廠家安裝前,應仔細核對其參數,主要核對其口徑、內襯、電極等參數是否符合設計要求,有集中BA 控制的應確認其與控制系統的匹配性。
2、安裝方位的選取
由于管道式電磁流量計廠家安裝于流體管道上,其測量數據的準確性與其內部液態物質的充滿度有關,故在選取安裝位置時,應注意以下幾點:
(1)流量計不得安裝在泵的抽吸側,如圖2 所示。

(2)開口排放的管道,流量計應裝在可存儲液體的底段,以免倒吸空氣影響測量精度。如圖3 所示。

(3)管道式電磁流量計廠家附近需裝閥門時,閥門應裝于流量計的下游。
(4)管道落差較大時,需在流量計的下游設置上彎及排所閥。
(5)安裝管道式電磁流量計廠家時,應充分考慮管道中產生氣泡的可能性,予以避免。
3、管道式電磁流量計廠家安裝及接地
由于管道式電磁流量計廠家的測量感應電流很小,電壓較低,易受外界電磁噪聲的影響,故在安裝時應進行可靠的接地連(跨)接。一般小口徑的流量計配備有接地環或接地極,接地連(跨)接時可直接用接地線進行連接;對于大口徑的流量計,需另行加工接地環用于接地連(跨)接。
對于安裝于非金屬管道或設有陰極保護管道上的管道式電磁流量計廠家,須在流量計的兩側安裝專用接地環,其作用是通過流量計外殼接地形成一個屏蔽外界干擾的空間,以提高其測量精度。
四、管道式電磁流量計廠家的調試
(1)調試前檢查及準備:管道式電磁流量計廠家在調試前,應對管道及流量計進行徹底檢查,包括管道雜物等清理,油性介質管道還需進行干燥處理。
(2)通水調試:無論是測量水性介質、混懸液體,還是測量油性介質的儀表,在正式調試前,均需進行通水調試。
(3)系統調試:管道式電磁流量計廠家在進行完單項功能通水測試,控制主機各項預備調試完成后,可進行系統調試。油性介質管道需進行干燥后方可通入被測介質進行系統運轉。
系統調試時,主機系統應預先對各個測量點進行編碼掃描,確保各儀表部件均在正常工作狀態后方可進行功能性調試。功能性調試時,由主機系統對各儀表分別進行參數的讀取,臨界值報警試驗等,然后進行控制數據的寫入。逐一進行調試,并將相關數據發送到相關上機位進行分析。
五、總結
通過管道式電磁流量計廠家在工業管道控制系統的應用,在儀表的選型、安裝工藝的調整、試驗等方面進行總結,為提高工業管道控制系統中電磁儀表安裝、調試的成功率積累了一定的技術經驗,為工業管道控制系統更高程度的集成化、自動化提供了實踐經驗。
管道式電磁流量計的基本原理技術特點與使用安裝要求
管道電磁流量計安裝規范
停機狀態下的管道式電磁流量計保養方法
管道電磁流量計,dn250電磁流量計
電磁管道流量計,電磁式流量計
管道式電磁流量計,高壓電磁流量計
一體管道式電磁流量計
關于管道式電磁流量計好與壞有哪些重要的檢查要領
管道電磁流量計在化工企業水源節能中的安裝與使用
詳述管道式電磁流量計的產品特點及未來四個方面的發展趨勢
用于控制管道電磁流量計使用中低噪音的信號電纜結構設計說明
管道式電磁流量計廠家在工業管道測量中選型安裝調試的常規要求
管道式電磁流量計,電磁管道流量計
管道式電磁流量計在注入液流量測量采集與數據分析中的應用
管道式電磁流量計在化工回用水處理工程設計的選型應用
管道電磁流量計在煙草定量加水系統改造及PLC系統設計
管道式電磁流量計自適應極化噪聲抵消系統研究
運用管道式電磁流量計實時監控注水井里面液位變化
管道電磁流量計在污水處理對自動控制技術的應用分析
關于管道式電磁流量計的原理局限性及優缺點與如何使用
關于電磁管道流量計的常見故障原因分析與解決方案
關于管道式電磁流量計在石油化工裝置調試及注意事項
關于管道式電磁流量計在鋁廠測量中的應用
管道電磁流量計出口壓力異常原因分析及建議
運用電磁管道流量計測量水流變化判斷水泵是否正常工作
電磁管道流量計的勵磁干擾分析與抗干擾方法
由于管道式電磁流量計廠家分布分散,運行環境較為復雜,其安裝工藝極可能影響其運行工況,以及發生故障的機率,從而影響整個儀表控制系統的運行。故對管道式電磁流量計廠家的原理進行分析,對其安裝工藝的研究,調試技術總結不斷更新顯得十分必要。本文通過對管道式電磁流量計廠家的工作原理及其工作環境要求等因素的分析,總結管道式電磁流量計廠家在選型、安裝、調試等應用的技術要點。
一、管道式電磁流量計廠家的工作原理圖

管道式電磁流量計廠家主要由信號轉換器與傳感器構成,其原理是基于法拉利電磁感應定律,在其傳感器中與被測管軸線垂直方向安裝一對檢測電極,當其接入液態介質管道,導電液態物質沿管軸側運動時,導電液體作切割磁力線運動而產生感應電動勢,此感應電動勢由其兩個電極測出,其理論數值為:
E=kVBd
其中,E:感應電動勢,
k:調整系統,因儀表構造而異,
V:被測液體平均流速,
B:磁感應強度,
d:被測管內徑。
如圖,測量流量時,流體流過垂直于流動方向的磁場,導電性流體的流動感應出一個與平均流速成正比的電勢。其感應電壓信號通過兩個電極檢出,并通過電纜傳送至轉換器,經過信號處理及相關運算后,將累計流量和瞬時流量顯示在轉換器的顯示屏上。
二、管道式電磁流量計廠家的選型
1、口徑選擇
選擇管道式電磁流量計廠家不一定按照管徑尺寸來確定其選用口徑。一般而言,當管道流速在0.5~1.5m/s 為經濟流速,若流體介質質對側壁磨損性較小,建議長期流速大于3m/s,但應小于7m/s,此時可選取小于管徑的流量計。
2、內襯材料選擇
管道式電磁流量計廠家主要用于測量流體物質的流量,而隨著被測物質的腐蝕性、磨損性、溫度及凝結性等特點,應選擇不同內襯材料的流量計。
3、電極材料的選擇
管道式電磁流量計廠家的電極裝于其管道內壁,與被測物質直接接觸,故應根據被測物質的腐蝕性選定。一般用于制造電極的材料有鈦(Ti)、鉭(Ta)、鉑-銥(Pt-Yi)合金、哈氏合金C(HC)、316L等。
4、其它參數的選擇
管道式電磁流量計廠家的選擇還應考慮防護等級、連接法蘭及電纜等因素。
管道式電磁流量計廠家的傳感器與轉換器之間用電纜進行連接,其長度與被測物質的電導率有關,*大長度為*低電導率的5 倍,但長度一般不超過100 米,且要求用金屬管道單獨保護。
三、管道式電磁流量計廠家的安裝
1、安裝準備工作
管道式電磁流量計廠家安裝前,應仔細核對其參數,主要核對其口徑、內襯、電極等參數是否符合設計要求,有集中BA 控制的應確認其與控制系統的匹配性。
2、安裝方位的選取
由于管道式電磁流量計廠家安裝于流體管道上,其測量數據的準確性與其內部液態物質的充滿度有關,故在選取安裝位置時,應注意以下幾點:
(1)流量計不得安裝在泵的抽吸側,如圖2 所示。

(2)開口排放的管道,流量計應裝在可存儲液體的底段,以免倒吸空氣影響測量精度。如圖3 所示。

(3)管道式電磁流量計廠家附近需裝閥門時,閥門應裝于流量計的下游。
(4)管道落差較大時,需在流量計的下游設置上彎及排所閥。
(5)安裝管道式電磁流量計廠家時,應充分考慮管道中產生氣泡的可能性,予以避免。
3、管道式電磁流量計廠家安裝及接地
由于管道式電磁流量計廠家的測量感應電流很小,電壓較低,易受外界電磁噪聲的影響,故在安裝時應進行可靠的接地連(跨)接。一般小口徑的流量計配備有接地環或接地極,接地連(跨)接時可直接用接地線進行連接;對于大口徑的流量計,需另行加工接地環用于接地連(跨)接。
對于安裝于非金屬管道或設有陰極保護管道上的管道式電磁流量計廠家,須在流量計的兩側安裝專用接地環,其作用是通過流量計外殼接地形成一個屏蔽外界干擾的空間,以提高其測量精度。
四、管道式電磁流量計廠家的調試
(1)調試前檢查及準備:管道式電磁流量計廠家在調試前,應對管道及流量計進行徹底檢查,包括管道雜物等清理,油性介質管道還需進行干燥處理。
(2)通水調試:無論是測量水性介質、混懸液體,還是測量油性介質的儀表,在正式調試前,均需進行通水調試。
(3)系統調試:管道式電磁流量計廠家在進行完單項功能通水測試,控制主機各項預備調試完成后,可進行系統調試。油性介質管道需進行干燥后方可通入被測介質進行系統運轉。
系統調試時,主機系統應預先對各個測量點進行編碼掃描,確保各儀表部件均在正常工作狀態后方可進行功能性調試。功能性調試時,由主機系統對各儀表分別進行參數的讀取,臨界值報警試驗等,然后進行控制數據的寫入。逐一進行調試,并將相關數據發送到相關上機位進行分析。
五、總結
通過管道式電磁流量計廠家在工業管道控制系統的應用,在儀表的選型、安裝工藝的調整、試驗等方面進行總結,為提高工業管道控制系統中電磁儀表安裝、調試的成功率積累了一定的技術經驗,為工業管道控制系統更高程度的集成化、自動化提供了實踐經驗。
上一篇:用于控制管道電磁流量計使用中低噪音的信號電纜結構設計說明
下一篇:廢水處理的流程說明及防腐硝酸管道流量計在其中發揮的作用


